4.2.2. Bremssystem
Die in den Abschnitten 4.2.2.1. und 4.2.2.2. behandelten Bremssysteme sind Bestandteil der mechanisch-hydraulischen Auflaufbremse. Bei diesem Bremssystem werden die Bremsdrücke mit einem hydraulisch wirkenden Radbremszylinder erzeugt. Bei dem Abschnitt im 4.2.2.3. behandelten Bremssystem werden die Bremskräfte nur mechanisch erzeugt.
Meinungen zum Thema (2)
4.2.2.1. Campinganhänger Bastei und Intercamp
Aufbau und Funktion
Beide Campinganhänger besitzen eine hydraulisch betätigte Zweiradbremse. Das Bremssystem besteht aus dem am Stegblech des Auflaufschubstückes befestigten Hauptbremszylinder (Bild 4.16) mit Vorratsbehälter, den am Achsrohr des Drehstabes befindlichen Verteiler-Stück und den an beiden Schwinghebeln angeschraubten Simplex-Radbremsen (Bilder 4.17 und 4.19). Bei der Simplexbremse werden die beiden Bremsbacken durch einen doppelseitig wirkenden Radbremszylinder an die Bremstrommel gedrückt. Dadurch ergibt sich eine auflaufende Primärbacke und eine ablaufende Sekundärbacke. (Die auflaufende Primärbacke ist diejenige Bremsbacke, bei der die Kolbenkraft des Radbremszylinders und die entstehenden Reibkräfte beim Bremsvorgang in Drehrichtung des Rades die gleiche Richtung haben.) Diese sind auf feststehenden Bremsträgern drehbar auf Backenlagerbolzen angeordnet.
Beim Abbremsen des Zugfahrzeuges läuft der Campinganhänger auf das Zugfahrzeug auf. Die dabei entstehende kinetische Energie drückt das Auflaufschubstück zusammen und erzeugt somit über ein Hebelsystem einen Druck im Hauptbremszylinder. Da sich der auf eine eingeschlossene Flüssigkeit ausgeübte Druck gleichmäßig fortpflanzt, wird der erzeugte Bremsdruck hydraulisch über die Bremsleitung und das Verteilerstück auf die Radbremszylinder und somit auf die Radbremsen übertragen. Dabei drückt die Kolbenkraft der Radbremszylinder die Bremsbacken gegen die Bremstrommel. Beschleunigt das Zugfahrzeug, so wird über das Hebelsystem des Auflaufschubstückes der Druck in der Bremsanlage entspannt, und der Bremsvorgang ist beendet.
Die Handbremse ist an der Zugeinrichtung des Fahrgestelles angebracht (Bild 4.18). Sie ist eine mechanisch betätigte Bremse mit Feststelleinrichtung und dient als Feststellbremse im Ruhezustand des Campinganhängers. Die Übertragung der Handkraft erfolgt vom Handbremshebel über einen Seilzug zu dem Handbremshebel in den Simplexbremsen. Beim Anziehen des Handbremshebels werden die Bremsbacken an die Bremstrommel gedrückt.

Bild 4.16. Hauptbremszylinder, am Stegblech des Auflaufschubstückes befestigt

Bild 4.17. Am Schwinghebel befestigte Radbremse mit unterer Stoßdämpferhalterung, oberem Bremsschlauchanschluss am Radbremszylinder und unterer Zuführung des Handbremsseiles

Bild 4.18. Handbremse an der Zugeinrichtung des Fahrgestelles mit Fangseil und Rückfahrsperre

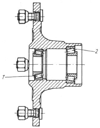
Bild 4.19. Radnabe mit Bremse (Bastei und Intercamp)
1 Bremshalteblech; 2 Bremstrommel; 3 Nabenkappe; 4 Splint 5 x 32; 5 Achsmutter;
6 Kegelrollenlager 30205; 7 Radnabe; 8 Radbolzen M 12 x 1,5 x 36; 9 Radmutter;
10 Kegelrollenlager 30206; 11 Dichtring für Kegelrollenlager; 12 Stoßring
(Hartgewebe); 13 Stoßscheibe als Dichtscheibe zur Verhinderung des Eindringens
von Fett in die Bremse
Wartungsarbeiten
Campinganhänger werden meist nur wenige Wochen im Jahr gefahren. Aus diesem Grund wird der Ausfall der Bremsanlage ohne entsprechende Wartungsarbeiten nur selten sofort festgestellt. Der Fahrer bemerkt dies oftmals erst dann, wenn die Anhängerbremse bei einer Talfahrt dringend benötigt wird. Ursache von Störungen oder Ausfall des Bremssystems sind mitunter nur Kleinigkeiten, die bei einer Sichtkontrolle bereits festgestellt werden können (Tabelle 4.6). Deshalb sollten nach jeder längeren Standpause folgende Wartungsarbeiten durchgeführt werden:
Tabelle 4.6. Störungen an der mechanisch-hydraulischen Bremsanlage
| Art der Störung | Ursache | Abhilfe |
| Bremsen werden während der Fahrt abnormal heiß | Hauptbremszylinderkolben sitzt fest | Hauptbremszylinder instand setzen |
| Ausgleichsbohrung im Hauptbremszylinder verstopft Kolben im Radbremszylinder sitzen fest | Kolben ausbauen und reinigen bzw. Radbremszylinder erneuern (s. Seite 176) | |
| Schubstück falsch eingestellt | Schubstück einstellen (s. Seite 207 f.) | |
| Handbremse zu viel nachgestellt | Handbremse richtig einstellen (s. Seite 186) | |
| Achsmutter zu fest angezogen | Lagerspiel neu einstellen (s. Seite 184) | |
| Rückzugfeder für Bremsbacken ermüdet oder gebrochen | Rückzugfeder erneuern | |
| automatische Bremsbackennachstelleinrichtung verklemmt | Nachstelleinrichtung überprüfen und eventuell auswechseln | |
| Bremsbacken durch Anziehen der Handbremse bei Minustemperaturen angefroren | mit Hilfe eines Heißlüfters auftauen | |
| Flüssigkeitsverlust im Vorratsbehälter zu groß | Undichtheit im Bremssystem | Leckstellen ermitteln und beseitigen |
| Anhänger bremst einseitig | Radbremszylinderkolben sitzt fest verölte Bremsbeläge | Wellendichtung in der Radnabe (Bild 4.19) und Radbremszylinder überprüfen, Ursache beseitigen |
| ungleich abgenutzter bzw. unterschiedlicher Bremsbelag in beiden Bremsen | Bremsbeläge erneuern bzw. vorschriftsmäßige Bremsbeläge einbauen | |
| unrunde Bremstrommeln | Bremstrommeln ausdrehen lassen bzw. wechseln | |
| ungleicher Luftdruck | ||
| Auflaufschubstück lässt sich ohne Druckerhöhung bis zum Anschlag durchdrücken | Bremsleitung defekt | Leitung und Verbindungsstellen überprüfen |
| Dichtmanschetten im Hauptbrems- oder Radbremszylinder defekt | Hauptbremszylinder bzw. Radbremszylinder überprüfen, defekte Teile auswechseln. | |
| Bremswirkung erst nach mehrmaligem Betätigen des Auftaufschubstückes | Luft im Bremssystem | Bremssystem entlüften (s. Seite 185) |
| Ungleichmäßiger Verschleiß der Bremsbeläge | Radbremszylinder defekt | Radbremszylinder überprüfen und eventuell auswechseln |
| Bremstrommel stark verschmutzt unterschiedlicher Bremsbelag | Trommel säubern vorschriftsmäßige Bremsbeläge einbauen | |
| Bremsen rattern | unrunde Bremstrommel | Bremstrommel ausdrehen lassen bzw. auswechseln |
| Unwucht in den Rädern | Räder auswuchten | |
| Quietschen der Bremse | Feuchtigkeit in der Bremse | Bremse mehrmals nacheinander benutzen |
| Bremsbelag lose oder gebrochen | Bremsbelag auswechseln | |
| Bremstrommel verschmutzt | Bremstrommel abziehen und reinigen |
Arbeiten am Hauptbremszylinder
- Monatliche Sichtkontrolle auf Spuren von ausgetretener Bremsflüssigkeit. Werden Spuren an Verbindungsstellen festgestellt so sind diese zu reinigen und anschließend nachzuziehen.
- Vierteljährlich ist der Flüssigkeitsstand im Vorratsbehälter zu
kontrollieren. Ist der Flüssigkeitsstand um mehr als 1 cm gesunken, dann
können undichte Stellen in Rohrleitung, Verteiler, Bremsschläuchen und den
Radbremszylindern vorhanden sein.
Beachte:
Flüssigkeitsstand im Vorratsbehälter sollte immer 1 cm unter dem oberen Rand liegen.
Bevor Bremsflüssigkeit nachgefüllt wird, müssen alle undichten Stellen beseitigt sein. Ist die Bremsflüssigkeit älter als zwei Jahre, dann sollte sie ausgewechselt werden, da sie auf Grund ihrer hygroskopischen Eigenschaft Wasser aufnimmt und altert. Es darf nur Globo-Bremsflüssigkeit Karipol - RS 1305-68 - bzw. eine Bremsflüssigkeit der Klasse SAE 70 R IM verwendet werden. Beim Nachfüllen von Bremsflüssigkeit darf das Sieb aus dem Vorratsbehälter nicht herausgenommen werden. Vor dem Aufschrauben des Verschlussdeckels ist darauf zu achten, dass die Entlüftungsbohrung im Deckel nicht zugesetzt ist (eventuell mit einer Nadel durchstoßen).
Arbeiten am Leitungssystem
Mindestens vierteljährlich sind Bremsleitungen, Verteiler und Bremsschläuche im verschmutzten Zustand auf undichte Stellen zu überprüfen. Gleichzeitig ist darauf zu achten, dass keine Beschädigung durch Steinschlag, Korrosion oder Scheuern der Bremsleitung an anderen Baugruppen eingetreten ist. Beschädigte Baugruppen der Bremsanlage sind grundsätzlich auszuwechseln.
Bremsleitungen und Bremsschläuche sollten alle 5 Jahre ausgewechselt werden.
Arbeiten am Radbremszylinder
Eine Kontrolle der Radbremszylinder ist nur dann erforderlich, wenn der Bremsflüssigkeitsverlust im Vorratsbehälter zu groß ist und keine undichten Stellen bis hin zur Radbremse zu finden sind bzw. wenn bei eingeschobenen Schubstücken keine Bremswirkung am Rad vorhanden ist.
- Campinganhänger aufbocken, so dass die Räder abgenommen und danach die
Bremstrommeln demontiert werden können.
Beachte:
Nach Abnahme der Bremstrommel darf das Schubstück nicht mehr bewegt werden, da die Bremskolben aus den Radbremszylindern herausgedrückt würden. Die Handbremse darf nicht angezogen werden. - Sind die freigelegten Bremsen durch Bremsflüssigkeit verschmiert so sind die Manschetten der Radbremszylinder undicht. Verölte Bremsbeläge erfordern grundsätzlich ein Auswechseln der Bremsbacken.
- Ist die Bremstrommel von der Radbremse abmontiert, sollte gleichzeitig der Zustand der Bremsbeläge mit überprüft werden. Diese müssen gleichmäßig abgenutzt sein und sollten eine Mindestdicke von 2 mm nicht unterschreiten. Haben sich glänzende Stellen auf dem Belag gebildet so sind diese mit Sandpapier restlos zu entfernen.
Bremsprobe vor Fahrtantritt
Wurde der Campinganhänger längere Zeit nicht benutzt so ist das Schubstück etwa 10mal hin- und herzubewegen. Danach müssen alle Sicherungen, die ein Bewegen des Anhängers verhindert haben, entfernt werden. Nun wird das Schubstück von Hand eingeschoben. Der Bremsvorgang soll im ersten Drittel des Auflaufweges spürbar beginnen.
Bei der Überprüfung der Bremsfunktion darf die Rückfahrsperre nicht eingelegt sein.
Danach wird der Campinganhänger an das Zugfahrzeug angehängt, und es werden mehrere Bremsproben durchgeführt. Es kann passieren, dass der Campinganhänger bei den ersten Bremsungen schief gezogen wird. Dies tritt ein, wenn die Bremse mehrere Wochen nicht benutzt wurde und sich an der Trommelfläche Rost gebildet hat. Dadurch ist die Bremse sehr griffig und es können unterschiedliche Bremskräfte in beiden Radbremsen auftreten. Nach mehreren kurzen Bremsungen ist jedoch der Rostbelag beseitigt und der Campinganhänger muss dann beim Abbremsen in der Spur des Zugfahrzeuges bleiben.
Beachte:
Bremsproben sollten nicht im öffentlichen Straßenverkehr durchgeführt
werden. Ist dies jedoch nicht zu vermeiden, so sind die Bremsproben auf
verkehrsarmen, trockenen Straßen durchzuführen. Zur Vermeidung von
Auffahrunfällen sollte eine zweite Person mit einem PKW die Bremsproben von
hinten absichern.
Abschmieren der Radlager
Die Radlager sind nach 10 000 km bzw. alle 2 Jahre mit Wälzlagerfett SWA 532 zu füllen.
Arbeiten an der Bremsanlage
Hauptbremszylinder aus- und einbauen
- Handbremse anziehen und Campinganhänger durch Vorlegekeile zusätzlich sichern.
- Lösen des Reduzierstückes 13 von der Verschlussschraube 7 7 (Bild 4.20).
- Vorsichtiges Wegbiegen der Bremsleitung.
- Muttern der Befestigungsschrauben des Hauptbremszylinders am Stegblech des Auflaufschubstückes abschrauben.
- Hauptbremszylinder in Achsrichtung des Campinganhängers abziehen. Druckstange sorgfältig aufbewahren.

Bild 4.20. Hauptbremszylinder zerlegt
1 Deckelverschluss für Vorratsbehälter; 2 Vorratsbehälter; 3 Sprengring; 4
U-Scheibe; 5 Gehäuse; 6 Kolben mit Ringmanschette; 7 Manschette; 8 Druckfeder; 9
Kappenventil; 10 Ventilsitzring aus Kupfer; 11 Verschlussschraube M 12 mit M 10
Innengewinde; 12 Dichtring; 13 Reduzierstück
Die Montage erfolgt in umgekehrter Reihenfolge der Demontage. Wird bei der Montage festgestellt, dass das Stegblech des Auflaufschubstückes verbogen ist, so ist unbedingt vor dem Anbau des Hauptbremszylinders die Druckstange durch Drehen der Mutter am Gabelkopf zurückzustellen, und das Siegblech ist zu richten. Der Flansch des Hauptbremszylinders muss ohne größeren Druck, bei eingeführter Druckstange, an das Stegblech angeschraubt werden. Nach Beendigung des Einbaus ist das Schubstück nach Abschnitt 4.2.3. neu einzustellen, und die Bremsanlage ist zu entlüften.
Beachte:
Wird nur der Hauptbremszylinder vom Stegblech abmontiert, so erfolgt keine
Veränderung der Einstellung des Auflaufschubstückes. Trotzdem sollten nach der
Montage die Einstellwerte am Schubstück nach Abschnitt 4.2.3. überprüft werden.
Hauptbremszylinder zerlegen und zusammenbauen
- Verschlussdeckel des Vorratsbehälters abschrauben, Sieb herausnehmen und Bremsflüssigkeitweggießen.
- Hauptbremszylinder in Schraubstock spannen und Verschlussschraube 11 (Bild 4.20) abschrauben.
- Mit leichtem Druck lässt sich der Kolben mit Manschette, Druckfeder, Klappenventil und Ventilsitzring mit Hilfe eines Domes von Ø 8 mm nach vorn herausschieben.
- Sprengring aus dem Gehäuse entfernen.
- Plastebehälter von Hand abschrauben. Bei älteren Ausführungen muss der Vorratsbehälter mit Hilfe eines Steckschlüssels (SW 24) vom Hauptbremszylindergehäuse abgeschraubt werden.
- Alle Metallteile mit Waschbenzin, Ausgleichsbohrung im Kolben und die
Überströmbohrung im Zylinder mit Hilfe einer Nadel bzw. mit Druckluft säubern.
Beachte:
Gummi- und Plastteile nur mit einem sauberen Lappen reinigen, da Benzin diese Teile angreift. - Alle Teile auf Beschädigung bzw. Verschleiß prüfen und eventuell erneuern.
Die Montage erfolgt in umgekehrter Reihenfolge der Demontage. Folgende Punkte sind zu berücksichtigen:
- Ist das Gewinde nicht am Vorratsbehälter, so ist zwischen Plastbehälter und Hauptbremszylinder eine neue Dichtscheibe aus Fiber und unter die Hohlschraube eine Blechscheibe zu legen.
- Kolben 6, Manschette 7, Druckfeder 8, Kappenventil 9 und Ventilsitzring 10 sind in der richtigen Reihenfolge (Bild 4.20) in das Gehäuse einzuschieben, und der Sprengring 3 ist im hinteren Teil des Gehäuses einzusetzen.
- Zwischen Verschlussschraube 11 und Reduzierstück 13 eine Weicheisenscheibe 12 legen.
- Entlüftungslöcher im Verschlussdeckel des Vorratsbehälters müssen offen sein.
Bremsbacken auswechseln
Campinganhänger sicher aufbocken, dabei darf die Handbremse nicht angezogen werden. Es kann sonst passieren, dass die Bremstrommel sich nicht abziehen lässt. Bremstrommel in axialer Richtung von der Bremse abziehen. Sitzt die Trommel fest, so genügt oftmals ein kräftiger Schlag mit einem Gummihammer (Bild 4.21). Nach Abnahme der Bremstrommel (Bild 4.22) ist diese auf Verschleiß zu überprüfen. Arbeitsfolge für den Ausbau der Bremsbacken:
- Der Haken der oberen Rückenzugfeder wird mit einem Schraubendreher in die Stegbohrung zurückgedrückt und nach innen gestoßen (Bild 4.23).
- Beide Bremsbacken mit den Händen fassen und vom Radbremszylinder wegdrücken. Die Bremsbacken können danach ohne Schwierigkeiten nach unten herausgenommen werden (Bild 4.24).
- Die Teile lange Rückzugfeder, Drucksteg, Handbremshebel, kurze Rückzugfeder und Handbremsseileinhängung lassen sich von der Bremsbacke leicht abnehmen (Bilder 4.25 und 4.26).
Bevor mit der Montage der neuen Bremsbacken mit aufgeklebtem Bremsbelag begonnen wird, ist zu überprüfen, ob für beide Trommelbremsen der gleiche Bremsbelag verwendet wird.

Bild 4.21. Bei festsitzender Bremstrommel genügt oftmals ein Schlag mit dem Gummihammer gegen den äußeren Scheibenrand der Bremstrommel

Bild 4.22. Abziehen der Bremstrommel mit beiden Händen

Bild 4.23. Zurückdrücken des Hakens der oberen Rückzugfeder in das Stegblech

Bild 4.24. Abnehmen der Bremsbacken

Bild 4.25. Handbremsseil am Handbremshebel des Ablaufbackens aushängen

Bild 4.26. Einzelteile der Radbremse
1 Bremsbacke rechts (Auflaufbacken); 2 Rückzugfeder, lang; 3 Rückzugfeder, kurz;
4 Bremsbacke links mit Belag (Ablaufbacken); 5 Handbremshebel; 6 Drucksteg

Bild 4.27. Automatische Bremsnachstellung
Bestehend aus: Schiebestück mit Mitnehmerbolzen 1, Sicherungsfeder 2,
Klemmplatte 3 und Druckfeder 4
Beachte:
Die Breite des Bremsbelages muss unbedingt 50 mm betragen. Für
Simplexbremsen werden auch Bremsbacken mit 30 mm Breite vertrieben. Diese dürfen
bei den Campinganhängern Bastei und Intercamp nicht eingebaut werden.
Die Montage geschieht in der Reihenfolge:
- Automatische Bremsnachstellung (Bild 4.27) ganz zurückstellen. Dies erfolgt, indem die Sicherungsfeder mit einem Schraubendreher niedergedrückt wird, die Klemmplatte in Richtung Mitnehmerbolzen geschwenkt und das Schiebestück zurückgedrückt wird.
- Handbremsseil aus dem am Schubstück befindlichen Waagebalken, durch Lösen der Nachstellmuttern abschrauben.
- Handbremsseil am Handbremshebel des Auflaufbackens und die lange Rückzugfeder mit Schwanenhals am Bremsbacken von hinten einhängen.
- Auflaufbacken auf die Abstützbrücke setzen und oben möglichst weit hinter dem Radmitnehmer nach innen drücken, so dass die lange Rückzugfeder in den Auflaufbacken eingehängt werden kann.
- Ablaufbacken in den Druckstift des Radzylinders und auf den Mitnehmerbolzen der automatischen Bremsbackennachstellung einlegen, Handbremsseil so weit anziehen, dass kein Gegendruck entsteht.
- Auflaufbacken auf den um 90° verdrehten Druckstift des Radzylinders aufsetzen und unten anheben, bis der Drucksteg eingelegt werden kann, Druckstift um 90° zurückdrehen und Auflaufbacken einrasten.
- Kurze Rückzugfeder einhängen, Ablaufbacken auf die Abstützbrücke heben.
- Auflaufbacken auf den Mitnehmerbolzen der automatischen
Bremsbackennachstellung drücken.
Beachte:
Die Teile der automatischen Bremsbackennachstellung dürfen mit keinem Schmiermittel in Berührung kommen, da dadurch der notwendige Reibwert zwischen Klemmplatten und Bolzen herabgesetzt wird. Dies kann zum Ausfall der automatischen Bremsnachstellung führen.
Lässt sich die Bremstrommel trotz richtiger Montage, unter Beachtung der Einstellung des axialen Lagerspieles schwer drehen, so sollte diese nochmals abgenommen und an dem Bremsbelag eine leichte Fase angefeilt werden.
Hinweise zur Bremstrommel
Durch Verschleißerscheinungen an der Trommelinnenfläche kann es zur Nacharbeit bzw. zum Auswechseln der Bremstrommel kommen. Ist eine starke Riefenbildung vorhanden oder ist der Bremsbacken in der Bremstrommel bis 0,6 mm eingelaufen, so kann diese bis auf einen maximalen Innendurchmesser von 231 + 0,185 mm ausgedreht werden. Die Rautiefe soll 10 μm betragen. Es sind grundsätzlich beide Bremstrommeln einer Achse nachzuarbeiten.
Beachte:
Werden die Bremstrommeln nachgearbeitet, müssen Bremsbacken mit aufgeklebten
Übermaßbelägen verwendet werden.
Beim Einbau der Bremstrommel sollten Zentrierrand und Flanschfläche der Trommel
leicht gefettet werden. Dadurch wird eine spätere Demontage erleichtert.
Radbremszylinder ausbauen, zerlegen und montieren
Dem Ausbau des Radbremszylinders geht die Demontage der Bremstrommel voraus. Danach wird wie folgt verfahren:
- Auf der Rückseite des Haltebleches (Bild 4.28) ist die Bremsleitung am Anschluss 2 zu lösen.
- Befestigungsschrauben herausschrauben und Radbremszylinder (Bild 4.29) nach vorn abnehmen.
- Schutzkappen 2 rechts und links von Hand abziehen.
- Bremsbackenaufnahme mit Führungskolben, Manschette und Druckfeder mit einem Dorn aus dem Gehäuse herausdrücken und Entlüftungsschraube herausdrehen.
Nun sind alle Teile mit Brennspiritus zu reinigen und danach die Kolben und Manschetten mit Rizinusöl einzuölen.
Beachte:
Gummiteile dürfen nicht mit Benzin gereinigt werden.

Bild 4.28. Halteblech der Radbremse
1 Radbremszylinder-Befestigungsschraube; 2 Anschluss der Bremshydraulikleitung;
3 Entlüftungsschraube; 4 untere Schwingungsdämpferhalterung am Schwinghebel

Bild 4.29. Radbremszylinder nach vorn abnehmen
Die Montage erfolgt in umgekehrter Reihenfolge der Demontage. Vorher sind jedoch alle Teile, die wieder eingebaut werden sollen, auf ihren einwandfreien Zustand zu prüfen. Bei den Gummimanschetten ist besonders auf einwandfreie Dichtlippen zu achten. Diese müssen glatt und rissfrei sein. Die Kolben und Manschetten sind vor dem Einsetzen mit Bremsflüssigkeit einzureiben. Beim Befestigen der Radbremszylinder ist auf waagerechten Einbau zu achten. Nach der Montage ist die Bremsanlage zu entlüften.
Beachte:
Die inneren Teile des Radbremszylinders können auch ausgebaut werden, ohne
den Radbremszylinder vom Halteblech zu lösen.
Prüfen der Kegelrollenlager mit Abbau der Nabe
Die Kegelrollenlager sitzen auf dem Achszapfen und in der Radnabe (Bild 4.30). Zunächst ist die Bremstrommel, wie voranstehend beschrieben, abzunehmen, die dann erforderlichen Arbeitsgänge zeigen die Bilder 4.31 bis 4.35.

Bild 4.30. Radnabe
1 Kegelrollenlager vom Typ 30205; 2 Typ 30206

Bild 4.31. Abdrücken der Radkappe mit Hilfe eines Schraubendrehers

Bild 4.32. Splint zur Sicherung der Achsmutter geradebiegen und mit Kombizange herausziehen

Bild 4.33. Abschrauben der Achsmutter

Bild 4.34. Abziehen der Radnabe mit Hilfe einer Abziehvorrichtung

Bild 4.35. Blick auf den Achszapfen mit hinterem Kegelrollenlager
Auf dem Halteblech befinden sich noch der Radbremszylinder sowie die
automatische Bremsbackennachstellung

Bild 4.36. Eingedrücktes hinteres Kegelrollenlager
Das hintere Kegelrollenlager bleibt auf dem Achszapfen sitzen (Bild 4.36). Es wird nur bei Beschädigung des Lagers bzw. der dahinter liegenden Stoßscheibe, die gleichzeitig das Eindringen von Fett in die Radbremse verhindern soll, des Dichtringes oder des Stoßringes abgezogen.
Beide Kegelrollenlager sind mit Waschbenzin zu reinigen und auf Beschädigung zu kontrollieren. Sind auf den Gleitbahnen der Lagergehäuse Riefen/so ist das Lager auszutauschen. Eine Reparatur am Lager ist nicht möglich. Zur Montage sind beide Lager reichlich mit Wälzlagerfett einzufetten.
Wurde das hintere Kegelrollenlager abgezogen, so ist der Lagerinnenring mit Rollenkäfig bis an den Dichtring fest einzudrücken. Beim Einschlagen des Lagers mit Hilfe eines Rohres ist unbedingt darauf zu achten, dass das Rohr nur am Innenring und nicht am Lagerkäfig anliegt. Ein Schlag auf den Lagerkäfig führt zur Deformierung und somit zum Zerstören des Lagers.
In die Radnabe ist der vordere Kegelrollenlageraußenring einzudrücken bzw. einzuschlagen. Das Einsetzen des äußeren Kegelrollenlagerinnenringes mit Rollenkäfig erfolgt nach dem Aufdrücken der Radnabe.
Mit dem Aufschrauben der Achsmutter wird gleichzeitig das axiale Lagerspiel eingestellt. Das Einstellen des Lagerspieles muss in waagerechter Stellung der Achse bzw. des Anhängers vorgenommen werden. Beim Aufschrauben der Achsmutter ist die Radnabe so lange zu drehen, bis ein erhöhter Kraftbedarf spürbar ist. Dabei darf es aber zu keinem ruckartigen Drehen der Radnabe kommen. Ist ein ruckfreies Drehen der Radnabe unter erhöhtem Kraftbedarf spürbar, so ist die Achsmutter etwa 30 bis 40° zurückzudrehen. Lässt sich die Radnabe nach dieser Einstellung sehr schwer drehen, dann sollte die Achsmutter noch 10 bis 20° zurückgedreht werden. Auf keinen Fall darf das Radlagerspiel an der Radnabe spürbar sein. Es ist auch falsch, ohne Drehen der Radnabe die Achsmutter anzuziehen. Dadurch kann es zu einem Verkanten der Lagerringe kommen, welches zum Zerstören der Lager führt.
Wurde die Achsmutter so weit angezogen, dass sich die Radnabe nicht mehr drehen lässt, dann ist die Achsmutter zurückzuschrauben und die Radnabe zu lösen. Die Einstellung des axialen Lagerspieles muss neu vorgenommen werden.
Beachte:
Das Versplinten der Achsmutter muss unbedingt mit einem neuen Splint
erfolgen.
Entlüften der Bremsanlage
Das Entlüften der Bremsanlage ist dann erforderlich, wenn sich Luft im Hydrauliksystem befindet. Luft dringt grundsätzlich bei jeder Reparatur am Bremssystem ein, kann aber auch durch einen zu niedrigen Flüssigkeitsstand im Vorratsbehälter bzw. über undichte Stellen in das Bremssystem gelangen.
Ob sich Luft im Bremssystem befindet, kann durch Bewegen des Schubstückes festgestellt werden. Ist genügend Bremsflüssigkeit im Vorratsbehälter und das Schubstück lässt sich bis zum Anschlag zurückdrücken oder das Schubstück federt beim Eindrücken und hat erst bei mehrmaliger Betätigung einen harten Anschlag, dann muss die Bremsanlage entlüftet werden. Beim Entlüften wird mit der Luft auch Bremsflüssigkeit herausgedrückt. Es muss deshalb immer darauf geachtet werden, dass im Vorratsbehälter ausreichend Bremsflüssigkeit vorhanden ist, da sonst wieder Luft in das Bremssystem gepumpt wird.
Beachte:
Bremsflüssigkeit verursacht Lackschäden und darf deshalb nicht mit
lackierten Teilen des Campinganhängers in Berührung kommen.
Arbeitsgänge:
- Überprüfen, ob im Vorratsbehälter der vorgeschriebene Flüssigkeitsstand von 1 cm, von der Oberkante des Vorratsbehälters gemessen, vorhanden ist, wenn nicht, Bremsflüssigkeit nachfüllen und während des Entlüftungsvorganges einen Mindest-Flüssigkeitsstand halten.
- Sind keine Reparaturen durchgeführt worden, dann ist es gleich, ob mit der linken oder rechten Radseite begonnen wird. Bei durchgeführten Reparaturen ist mit der Radseite zu beginnen, an der die Reparatur erfolgte
- Abnehmen der Gummiverschlusskappe am Entlüftungsventil und Entlüftungsschraube säubern.
- Ringschlüssel aufstecken und Entlüftungsschlauch auf den Nippel der Entlüftungsschraube aufschieben.
- Flüssigkeitsgefäß ca. 1/4 mit Bremsflüssigkeit füllen und freies Ende des Entlüftungsschlauches in die Bremsflüssigkeit des Gefäßes eintauchen.
Beachte:
Befindet sich das Schlauchende nicht in der Bremsflüssigkeit, wird erneut
beim Bewegen des Schubstückes Luft angesaugt. Der Flüssigkeitsspiegel im Gefäß
sollte über der Höhe der Entlüftungsschraube liegen.
- Entlüftungsschraube um eine halbe Umdrehung nach links öffnen. Die zweite Person muss das Schubstück schnell eindrücken. Dies muss so lange erfolgen, bis keine Luftblasen mehr in der Bremsflüssigkeit des Glases sichtbar sind.
Beachte:
Das Schubstück lässt sich sehr schwer von Hand eindrücken. Als Hilfsmittel
kann ein Holzstiel senkrecht durch die Kugelkupplung gesteckt werden, um über
ein auf dem Fußboden befindliches Gegenlager das Schubstück einzudrücken.
- Schubstück bis zum Anschlag drücken und Entlüftungsschraube nach rechts zudrehen.
- Entlüftungsschlauch abnehmen, Gummiverschlusskappe säubern und auf die Entlüftungsschraube aufstecken.
- Entlüftung des zweiten Rades erfolgt in der gleichen Reihenfolge wie beim ersten Rad.
- Nach Beendigung des Entlüftungsvorganges wird das Schubstück eingedrückt und ca. eine halbe Minute in dieser Stellung gehalten. Wird dabei ein Nachgeben oder Federn festgestellt, muss der Entlüftungsvorgang wiederholt werden.
Beachte:
Wird nach dem Entlüftungsvorgang ein Nachgeben oder Federn des Schubstückes
festgestellt, können auch undichte Stellen im Bremssystem vorhanden sein.
Arbeiten an der Handbremse
Normalerweise treten an der Handbremsbetätigung kaum Störungen auf, die Demontage der Bremsbetätigung kann jedoch in Verbindung mit anderen Arbeiten am Fahrwerk erforderlich sein, und deshalb soll diese im folgenden beschrieben werden.
- Abschrauben der Nachstellmuttern 7 (Bild 4.37) vom Bremsseil am Waagebalken, das Bremsseil dazu mit Zange festhalten.
- Splint 13 mit Schraubendreher geradebiegen und mit Kombizange herausziehen.
- Bolzen 7 7 herausdrücken und Waagebalken abnehmen.
- Scherglied aufbiegen und vom Handbremsgehäuse herausziehen.
- Splint 10 geradebiegen und herausziehen.
- Bolzen 8 mit Dorn aus der Führung herausschlagen.
- Handbremshebel 7 nach oben herausnehmen.
Wie Bild 4.38 zeigt, kann auch der Handbremshebel zerlegt werden.

Bild 4.37. Handbremsbetätigung zerlegt
1 Handbremshebel; 2 Seilverlängerung; 3 Mutter M 8; 4 Seilverbinder; 5
Bremsseil; 6 Waagebalken; 7 Mutter M 8; 8 Bolzen (10 h 11 x 20 x 16); 9 Scheibe
(10,5); 10 Splint (3,2 x 16); 11 Bolzen (12 h 11 x 25 x 19,5); 12 Scheibe; 13
Splint (4 x 20); 14 Scherglied; 15 Karabinerhaken (A60); 16 Abreißseil

Bild 4.38. Druckknopf des Handbremshebels, zerlegt
Sollen auch noch die Bremsseile gewechselt werden, so ist der Anhänger zunächst sicher aufzubocken, denn zum Aushängen der Bremsseile müssen die Bremstrommeln abgenommen werden. Dann ist das Handbremsseil aus dem Handbremshebel der Radbremse auszuhängen und aus dem Halteblech herauszuziehen. Nun können die Bremsseile nach vorn aus den Führungsrohren herausgezogen werden.
Die Montage erfolgt in umgekehrter Reihenfolge der Demontage. Vor der Montage
sind alle Lagerbolzen und Schraubverbindungen leicht einzufetten, als Scherglied
und Splinte sind unbedingt Neuteile einzusetzen.
Nach jeder Montage an der Handbremse ist diese wie folgt einzustellen:
- Mit Hilfe des Scherenwagenhebers Achse des Campinganhängers hochheben und sicher aufbocken, bis sich beide Räder von Hand drehen lassen (Dieser Arbeitsgang entfällt, wenn vorher die Seile gewechselt wurden.)
- Handbremshebel bis zum vierten Zahn des Zahnsegmentes anziehen.
- Nachstellmuttern an den Gewindeendstücken am Waagebalken gleichmäßig anziehen, bis beide Räder nur mit erhöhtem Kraftaufwand drehbar sind, dabei Bremsseil beim Anziehen der Achsstellmuttern mit der Kombizange festhalten.
- Handbremshebel bis zum fünften Zahn des Zahnsegmentes anziehen, Räder dürfen sich nicht mehr drehen lassen, lassen sich die Räder noch drehen, dann Handbremshebel wieder bis zum vierten Zahn zurückrasten und Nachstellmuttern weiter gleichmäßig anziehen.
- Handbremshebel muss sich bis zum fünften Zahn des Zahnsegmentes mit normaler Handkraftanziehen lassen.
Meinungen zum Thema
Was ist Ihre Meinung zu diesem Artikel? Bisher wurde hierzu noch keine Meinung abgegeben - aber Sie haben doch bestimmt eine!
4.2.2.2. Wohnzeltanhänger Camptourist und Campinganhänger QEK Junior
Beide Anhänger besitzen eine hydraulisch betätigte Zweiradbremse, wobei beim Wohnzeltanhänger ab Baujahr 1984 auf die mechanisch betätigte Zweiradbremse mit Rückfahrautomatik umgestellt wurde. Da auch an den Campinganhängern Bastei, Intercamp und QEK-Junior schrittweise das mechanische Bremssystem eingeführt wird, werden die dazu notwendigen Selbsthilfetipps im Abschnitt 4.2.2.3. behandelt. Dieser Abschnitt bezieht sich daher ausschließlich auf die mit dem hydraulischen Bremssystem ausgerüsteten Anhänger.
Aufbau und Funktion
Das mechanisch-hydrauliche Bremssystem besteht aus dem am Haltewinkel des Auflaufkopfes befestigten Hauptbremszylinder (Bild 4.39) mit Vorratsbehälter, dem in der Mitte von beiden Dreiecklenkern angeordneten Verteilerstück und den an beiden Dreiecklenkern angeschraubten Simplex-Radbremsen. Die beiden Bremsbacken werden von einem doppelseitig wirkenden Radbremszylinder an die Bremstrommel gedrückt. Die Funktion des Bremssystems ist die gleiche wie bei den Campinganhängern Bastei und Intercamp, dies trifft auch für die Handbremse zu. Deshalb gelten für die Bremsanlage des Camptourist und des QEK Junior auch viele der im Abschnitt 4.2.2.1. erläuterten Instandhaltungsarbeiten, auf die dann im folgenden nicht mehr eingegangen wird.
Beachte:
Obwohl die Funktion der Bremssysteme Bastei, Intercamp und CT 6-2,
QEK-Junior gleich ist, dürfen die Baugruppen beider Bremssysteme nicht
miteinander vertauscht werden.

Bild 4.39. Hauptbremszylinder am Haltewinkel des Auflaufkopfes
1 Bremsleitung; 2 Verteilerstück; 3 Hauptbremszylinder; 4 Vorratsbehälter; 5
Haltewinkel; 6 Druckstange, 7 Gabelkopf
Arbeiten an der Bremsanlage
Hauptbremszylinder aus- und einbauen
Der Hauptbremszylinder BH 64 ist ein Verschleißteil. Er ist nach 20 000 km Laufstrecke gegen einen neuen Hauptbremszylinder auszutauschen.
Beachte:
Der Hauptbremszylinder BH 64 ist äußerlich mit dem Hauptbremszylinder des
PKW Trabant identisch. Im inneren Aufbau gibt es jedoch Unterschiede. Deshalb
darf der Hauptbremszylinder des PKW Trabant nicht in das Bremssystem der
Anhänger eingebaut werden.
Arbeitsfolge für den Ausbau:
- Handbremse anziehen und Anhänger durch Vorlegekeile sichern.
- Lösen der beiden M-6-Schrauben an der Schutzkappe und diese nach oben abnehmen (Bild 4.40).
- Lösen der Bremsleitung am Verteilerringstutzen und vorsichtiges Wegbiegen derselben (vgl. Bild 4.39).
- Beide Muttern der Befestigungsschrauben des Hauptbremszylinders am Haltewinkel des Auflaufkopfes abschrauben und Hauptbremszylinder in Achsrichtung wegnehmen.
- Druckstange und Gabelkopf bleiben unverändert.
Der Anbau erfolgt in umgekehrter Reihenfolge der Demontage.
Beachte:
Obwohl die Einstellung an der Druckstange nicht verändert wird, sollte nach
der Montage die Funktion der Bremse überprüft werden.

Bild 4.40. Auflaufkopf mit Schutzkappe Camptourist
Bremsbacken auswechseln
Zum Bremsbackenwechsel sind der Anhänger sicher aufzubocken und die Räder abzunehmen. Die weiteren Arbeitsgänge zeigen die Bilder 4.41 bis 4.48.
Zum Abschluss dieser Arbeitsgänge können das Bremsseil am Handbremshebel ausgehängt und die Bremsbacken abgenommen werden.
Ist die lange Rückzugfeder bzw. der Drucksteg auszuwechseln, dann ist die über beide Teile geschobene Federklammer abzunehmen (vgl. Bild 4.49).
Die Montage erfolgt in umgekehrter Reihenfolge der Demontage. Zunächst muss
die automatische Bremsnachstellung (Bild 4.50) bis zum Anschlag zurückgeschoben
werden. Dazu wird die Klemmplatte mit einem Schraubendreher gerade gedrückt und
das Schiebestück von Hand zurückgeschoben.
Die weiteren Arbeitsgänge sind:
- Rückzugfedern von hinten in die Bremsbacken einhängen.
- Bremsbacken in den Mitnehmerbolzen der automatischen Bremsnachstellung einrasten.
- Vorgeschriebenes Spaltmaß von 0,2 mm bis 0,35 mm zwischen Mitnehmerbolzen und Langloch mit einer Fühllehre kontrollieren.

Bild 4.41. Nabenkappe mit Schraubendreher abdrücken

Bild 4.42. Splint zur Sicherung der Achsmutter geradebiegen und herausziehen

Bild 4.43. Achsmutter abschrauben

Bild 4.44. Sicherungsschraube der Bremstrommel mit einem Schraubendreher lösen

Bild 4.45. Bremstrommel mit beiden Händen anfassen und abnehmen, wenn erforderlich, mit einem Gummihammer gegen den äußeren Bremstrommelrand schlagen

Bild 4.46. Radnabe abziehen, mit Montierhebel gegen Drehen sichern

Bild 4.47. Bremsbacken mit Hilfe einer Wasserpumpenzange und untere (kurze)
Rückzugfeder aushängen
Die Zange wird, entgegen ihrem sonstigen Verwendungszweck, zum
Auseinanderdrücken der Bremsbacken eingesetzt.

Bild 4.48. Bremsbacken abnehmen und Bremsseil am Handbremshebel aushängen
Zuvor werden die Bremsbacken mit Schraubendreher aus den Druckbolzen des
Radbremszylinders gedrückt, die obere Rückzugfeder ausgehängt und der Drucksteg
abgenommen.

Bild 4.49. Einzelteile der Radbremse
1 Handbremsseil; 2 Bremsbacke, vollständig; 3 Handbremshebel; 4 Drucksteg mit
oberer Rückzugfeder; 5 Radbremszylinder; 6 untere Rückzugfeder; 7 Schiebestück
mit Mitnehmerbolzen; 8 Druckfeder; 9 Klemmplatte; 10 Entlüftungsschraube; 11
Radbolzen; 12 Radmuttern; 13 Rillenkugellager; 14 Wellendichtring; 15 Radnabe;
16 Bremstrommel; 17Sicherungsschraube; 18 U-Scheibe; 19 Kronenmutter; 20 Splint

Bild 4.50. Automatische Bremsbackennachstellung
Bremstrommeln
Der Normaldurchmesser der Bremstrommel beträgt 200 mm. Durch Riefenbildung ab 0,6 mm Tiefe kann ein Ausdrehen bis zu einem höchstzulässigen Innendurchmesser von 202 mm erforderlich werden.
Beachte:
Müssen die Bremstrommeln auf 202 mm Innendurchmesser ausgedreht werden, dann
sind Bremsbacken mit 5 mm Belagdicke zu verwenden.
Die Rautiefe sollte 10 μm betragen. Es sind grundsätzlich beide Bremstrommeln einer Achse nachzuarbeiten. Ist die Innenfläche der Bremstrommel glatt, dann kann diese mit Sandpapier aufgeraut werden.
Vor dem Aufstecken der Bremstrommel sollten Zentrierrand und Flanschfläche der Bremstrommel leicht eingefettet werden.
Radbremszylinder ausbauen
Bis zur Abnahme der Bremstrommel sind die Arbeitsgänge wie beim Bremsbackenwechsel auszuführen, danach sind folgende Arbeitsgänge erforderlich:
- Auf der Rückseite des Haltebleches Bremsschlauch abschrauben.
- Befestigungsschraube herausdrehen und Radbremszylinder nach vorn abnehmen.
- Gummistopfen herausziehen und Kolben aus dem Gehäuse herausdrücken.
Alle demontierten Teile sind mit Brennspiritus zu reinigen, und der Kolben ist mit Rizinusöl oder Bremsflüssigkeit einzuölen. Vor dem Einölen sollten die gereinigten Teile jedoch geprüft und defekte Teile erneuert werden.
Beachte:
Kolben nicht mit Benzin reinigen.
Die Montage erfolgt in umgekehrter Reihenfolge der Demontage. Bei Befestigung der Radbremszylinder ist auf waagerechten Einbau zu achten. Die Bremsanlage ist nach der Montage zu entlüften (s. Seite 193).
Überprüfen der Kugellager
Die Radial-Rillenkugellager 6206 C 2 sind in die Radnabe eingepresst.
Beachte:
Zwischen dem Campinganhänger QEK Junior und dem Wohnzeltanhänger Camptourist
gibt es bei der Arretierung der Rillenkugellager in der Radnabe und bei der
Befestigung des Achsstumpfes konstruktiv unterschiedliche Lösungen (Bild 4.51).

Bild 4.51. Konstruktive Lösung der Radlagerung
a) beim Wohnanhänger QEK Junior; b) beim Wohnzeltanhänger
Beim Wohnzeltanhänger ist der Achsstumpf am Dreiecklenker eingeschweißt, während beim Campinganhänger QEK Junior der Achsstumpf am Dreiecklenker durch eine Kronenmutter M 24 x 1,5 mit Splint 5 x 45 gesichert ist.
Bleibt beim Abziehen der Radnabe ein Kugellager auf dem Achsstumpf hängen, dann kann beim QEK Junior der Achsstumpf demontiert und das Kugellager mit Hilfe einer Presse abgedrückt werden. Beim Wohnzeltanhänger ist das Kugellager, wenn kein Abzieher zur Verfügung steht, vorsichtig vom Achsstumpf zu schlagen. Dies erfolgt, indem mit Hilfe eines Hartholzstückes leichte Schläge auf den Innenring des Kugellagers umlaufend gegeben werden. Zunächst werden die in den Bildern 4.41 bis 4.46 gezeigten Arbeitsgänge ausgeführt. Danach verfährt man wie folgt:
- Wellendichtring D40 x 62 x 10 mit der Hand aus der Radnabe herausziehen.
- Kugellager in der Radnabe mit Waschbenzin reinigen und auf Beschädigung kontrollieren, dazu den Innenring des Kugellagers gefühlvoll mit der Hand drehen. Treten dabei ruckartige Widerstände auf, so ist das Kugellager beschädigt und Mus ausgewechselt werden.
- Mit Hilfe einer Abziehvorrichtung ist das beschädigte Kugellager aus der Radnabe herauszuziehen.
Die Montage erfolgt in umgekehrter Reihenfolge der Demontage. Dabei ist folgendes zu beachten:
- Kugellager beidseitig einfetten.
- Beim Campinganhänger QEK Junior erst das vordere Kugellager in die Radnabe
bis zum Anschlag eindrücken, danach eingefettete Distanzbuchse (Bild 4.51a)
einführen und hinteres Kugellager bis zur Distanzbuchse eindrücken.
Beachte:
Die Kugellager dürfen beim Eindrücken oder beim Einschlagen nicht verkantet werden. - Neue Dichtmanschette in hinteren Teil der Radnabe eindrücken.
Beachte:
Die Dichtmanschette verhindert das Eindringen von Fett in die Radbremse. Es sollte deshalb nach jeder Demontage eine neue Dichtmanschette eingesetzt werden. - Beim Wohnzeltanhänger werden die Kugellager in die Radnabe bis zum Anschlag eingedrückt.
Entlüften der Bremsanlage
Im wesentlichen wird die Bremsanlage so entlüftet, wie dies im Abschnitt 4.2.2.1. beschrieben ist.
Folgende Ergänzungen sind dabei jedoch zu beachten:
- Am Schubstück ist der Verbindungsbolzen zwischen Bremshebel und Verbindungslasche zu entfernen, der quer verlaufende Bremshebel ist durch ein Rohrstück zu verlängern, mit Hilfe dieser Rohrverlängerung lässt sich der Kolben des Hauptbremszylinders so lange betätigen, bis keine Luftblasen mehr aus dem Gummischlauch heraustreten.
- Das Entlüften der Bremsanlage beginnt am Hauptbremszylinder, indem am Entlüftungsnippel des Verteilerringstutzens der Gummischlauch (Innendurchmesser 4 mm) aufgeschoben wird.
Nach der Beendigung des Entlüftungsvorganges ist mit Hilfe der Rohrverlängerung das Bremssystem abzudrücken, dabei ist zu prüfen, ob alle Verbindungsstellen der Bremsleitungen dicht sind und die Bremsschläuche keine Beschädigungen aufweisen. Dann sind die Rohrverlängerung abzuziehen und der Verbindungsbolzen zwischen Bremshebel und Gestängelasche wieder zu montieren und mit einem neuen Splint zu sichern.
Während des Abdrückens mit der Rohrverlängerung werden die Bremsbacken auf das erforderliche Ba
Meinungen zum Thema
Was ist Ihre Meinung zu diesem Artikel? Bisher wurde hierzu noch keine Meinung abgegeben - aber Sie haben doch bestimmt eine!








Super Seite-Sogar für Wessis! Tauend Dank