Unser RSS Feed FAQ · Reifenempfehlungen · Forum
Technik-Texte

Technik-Texte

Eine Sammlung wichtiger Texte für den Trabantschrauber. Weitere Texte können gerne auch mit Quellenangabe an uns gesendet werden. Nach gründlicher Prüfung erfolgt gegebenenfalls die Veröffentlichung. Für eine Kontaktaufnahme bitten wir die Informationen im Impressum zu nutzen.

Einbau- und Bedienungsanleitung - Elektronischer Blinkgeber 8585.2

2010-06-07 19:43:41 Geändert: 2010-06-07 19:46:41 (3) (Gelesen: 26113)

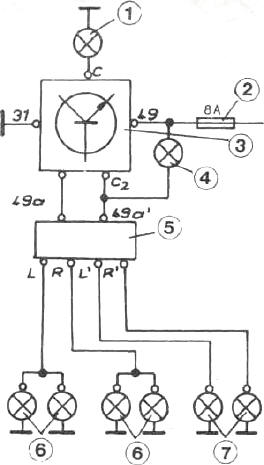
Beim Einschalten der Zündung des Kfz kann Kontrollampe des BG kurz aufleuchten.

Achtung!

Anschlußpläne, Anschlußleistung und übrige Hinweise genau beachten!
Blinkgeber vor Nässe schützen, Einbau senkrecht - Anschlüsse nach unten. Masse (31) am Befestigungswinkel. Beim Einbau auf Kontaktgabe achten.

Kontrolle

Kontrollampe vom Motorwagen blinkt mit den Blinkleuchten. Beim Ausfall einer Blinkleuchte verdoppelt sich die Blinkfrequenz. Kontrollampe vom Anhänger blinkt im Gegentakt. Bei Ausfall einer Blinkleuchte bleibt sie dunkel.

Verwendung

Für Fahrzeuge mit 6 V Bordspannung und 2-Kreis-Blinkanlage.
Austauschbar gegen Blinkgeber 8581.15/2 bzw. 8581.15/20 mit (2+1) X 21 W.

  1. Kontrollampe Richtungsblinken
  2. vom Zündschalter Klemme 15
  3. Elektronischer Blinkgeber
  4. Anhänger Kontrolle
  5. Zweikreisblinkschalter
  6. Blinklampen Motorwagen
  7. Blinklampen Hänger
Bewerten - Schlecht Gut · 51 Bewertungen · Note Ausreichend

Meinungen zum Thema

Was ist Ihre Meinung zu diesem Artikel? Bisher wurde hierzu noch keine Meinung abgegeben - aber Sie haben doch bestimmt eine!

Downloads

Sammelsurium
Schaltpläne
Sounds
Spaß und Spiel
Programme speziell für den Trabant
Videos
Trabant 1.1
Anhänger
Trabant Kübel